設備型號:MZ1B-W1-1
設備功率:2.2KW
設備產量:600kg
設備價格:1.5萬
功能介紹:用于將含切削液的碎屑輸送到指定位置,具有體積小、密封性強、強度好、靈活設計、安裝維修易操作、并能多點入屑和無噪聲等優點。
刮板式排屑機用于輸送車床加工后產生的各種金屬屑、鐵屑、不銹鋼屑、鋁屑等塊狀粉碎或粉狀切屑,實現切削液與碎屑分離,分離后的切削油集中到底部郵箱中,碎屑通過輸送機傳輸到集屑車內。

機床排屑機用于輸送長度小于 150mm 的條狀、片狀及顆粒狀碎屑,可作為機床、銑床、鉆床、車床等加工中心設備后續處理設備,避免切屑油污染環境,保證加工車間的干凈衛生。
刮板排屑輸送機采用殼體底部與刮板鏈條相對運動,實現碎屑輸送工作原理,在設備運行過程中,碎屑在水平或傾斜狀態下都可以連續、勻速向前移動,將其排出到收集車。
機床刮板排屑機由殼體、電機、減速機、驅動鏈條、傳動鏈條、刮板和油箱等組成,電機輸出動力帶動驅動鏈條運行,將力傳遞到傳動鏈條上,從而帶動刮板循環運動,將金屬屑沿殼體底部輸送到集屑車上方。


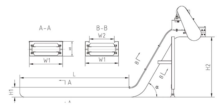
| 型號 | 鏈條節距 | L | W1 | W2 | H1 | H2 | Q | Remark |
| MZ1B-W1-1 | 31.75 | ≤5000 | 200~450 | W1-95 | 130 | ≤1500 | ≤60 | 滾子輸送鏈 |
| MZ1B-W1-2 | 50.8 | ≤15000 | 230~500 | W1-125 | 175 | ≤3000 | ≤60 | |
| MZ1B-W1-3 | 76.6 | ≤30000 | 400~800 | W1-120 | 300 | ≤3500 | ≤60 | 模鍛鏈 |